Is Kawasaki Getting Close?
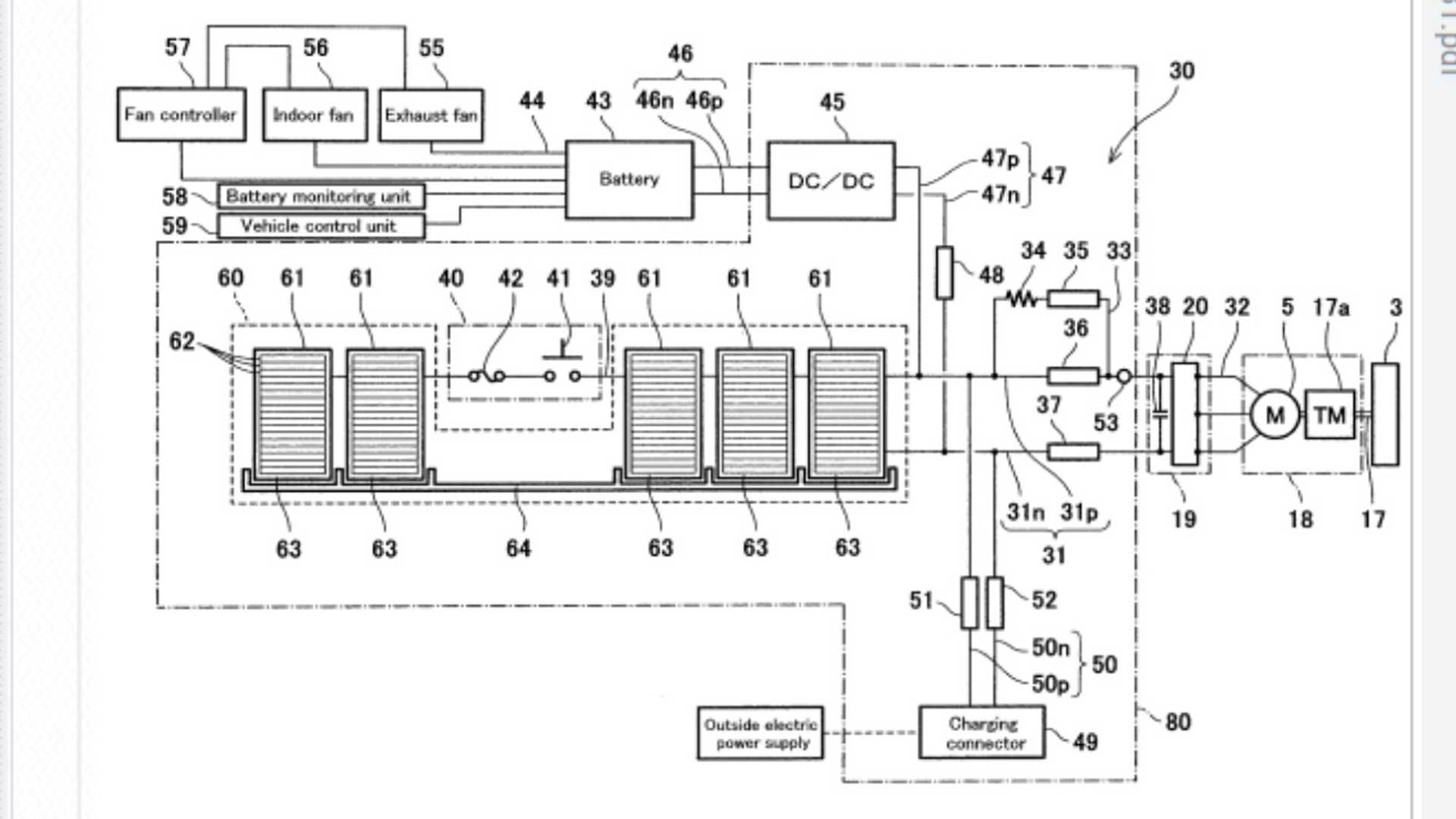
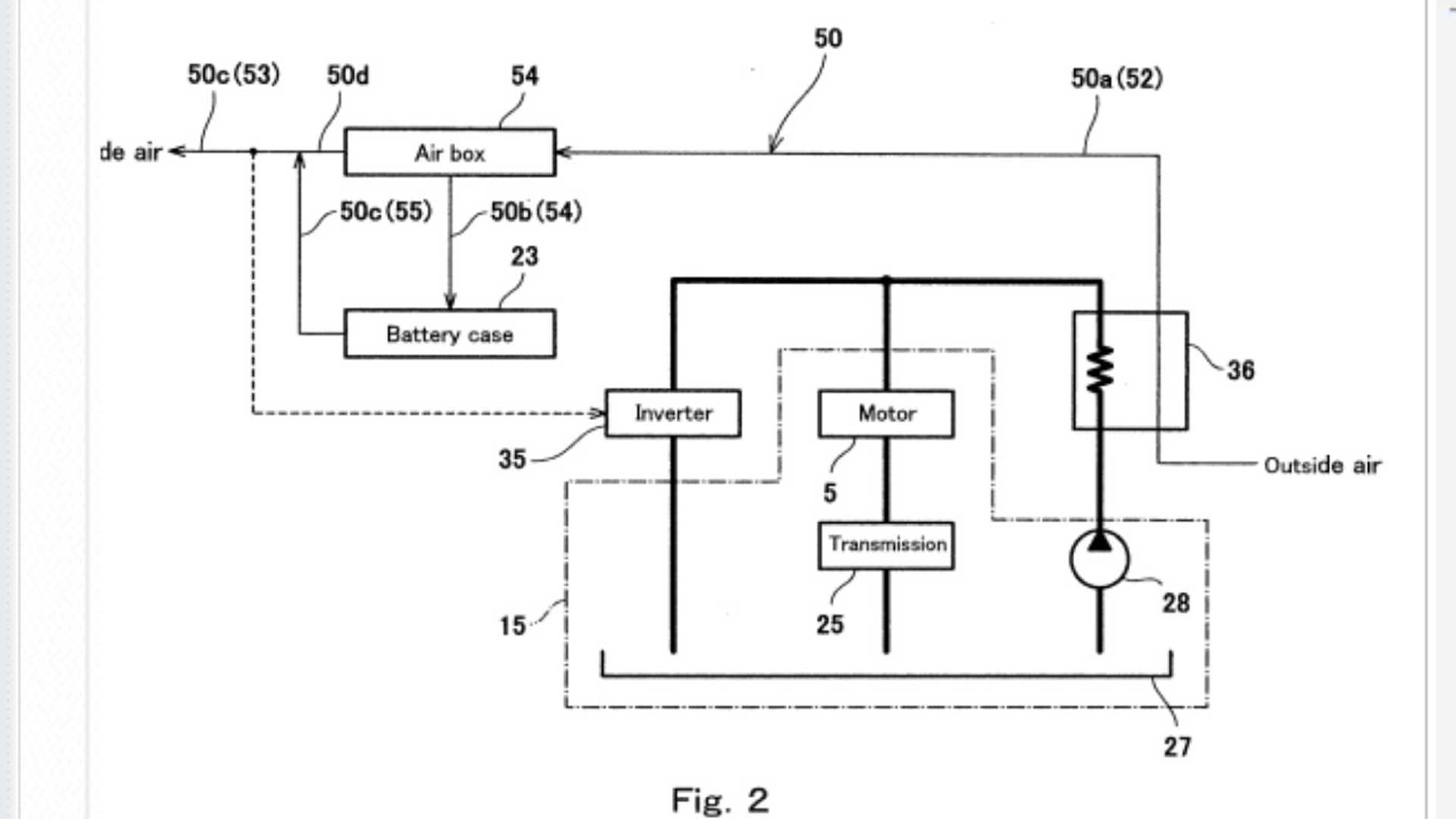
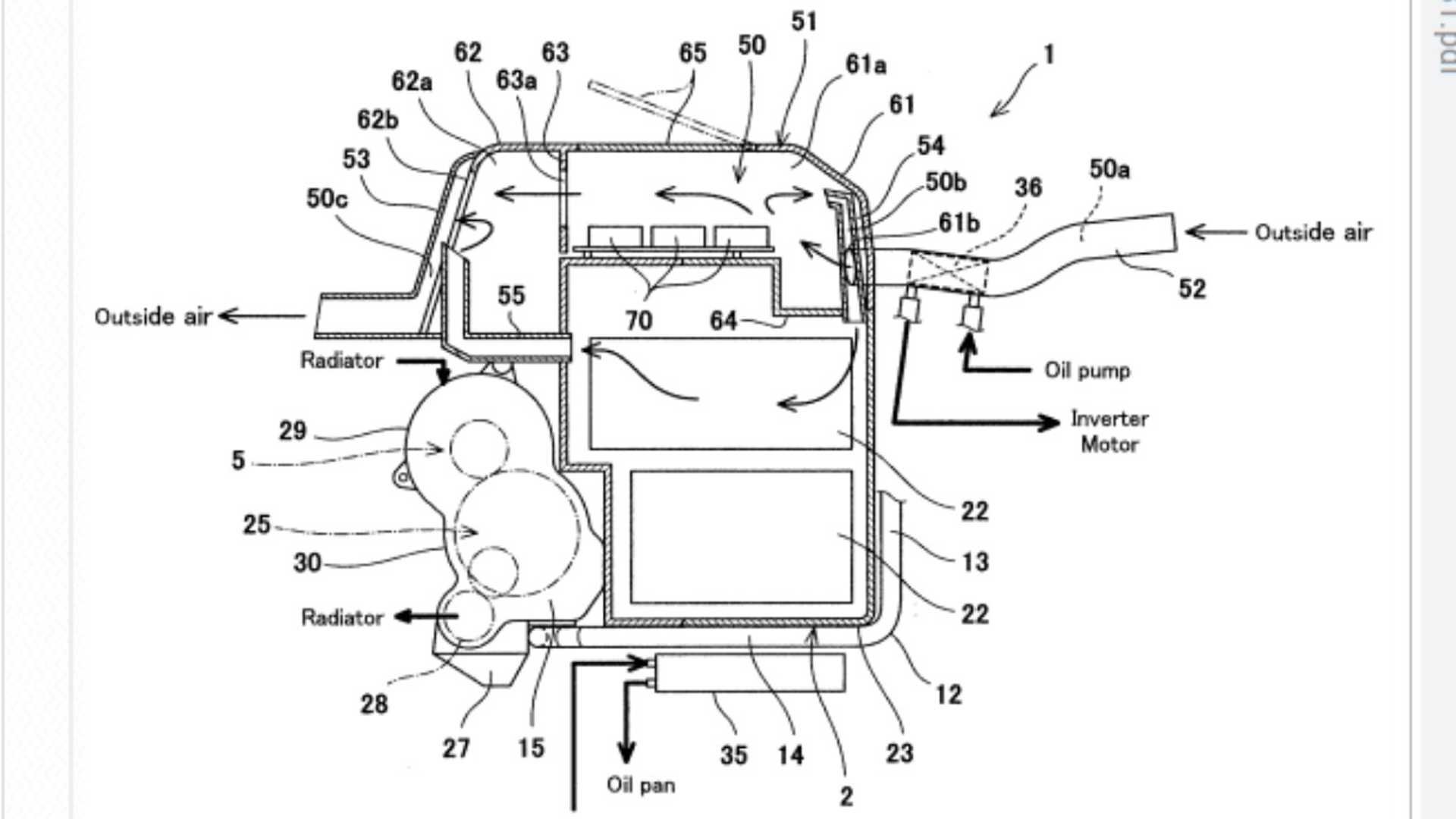
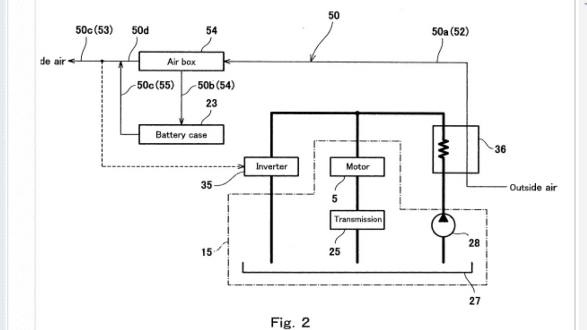
Kawasaki patents of an electric motorcycle have surfaced before. Now more details are coming out thanks to more recent patent filings. The latest patents focus on the actual cooling of the batteries that will be used on the bike. It seems that Kawasaki is focusing on some kind of liquid cooling solution.
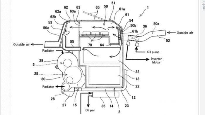
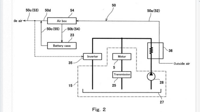
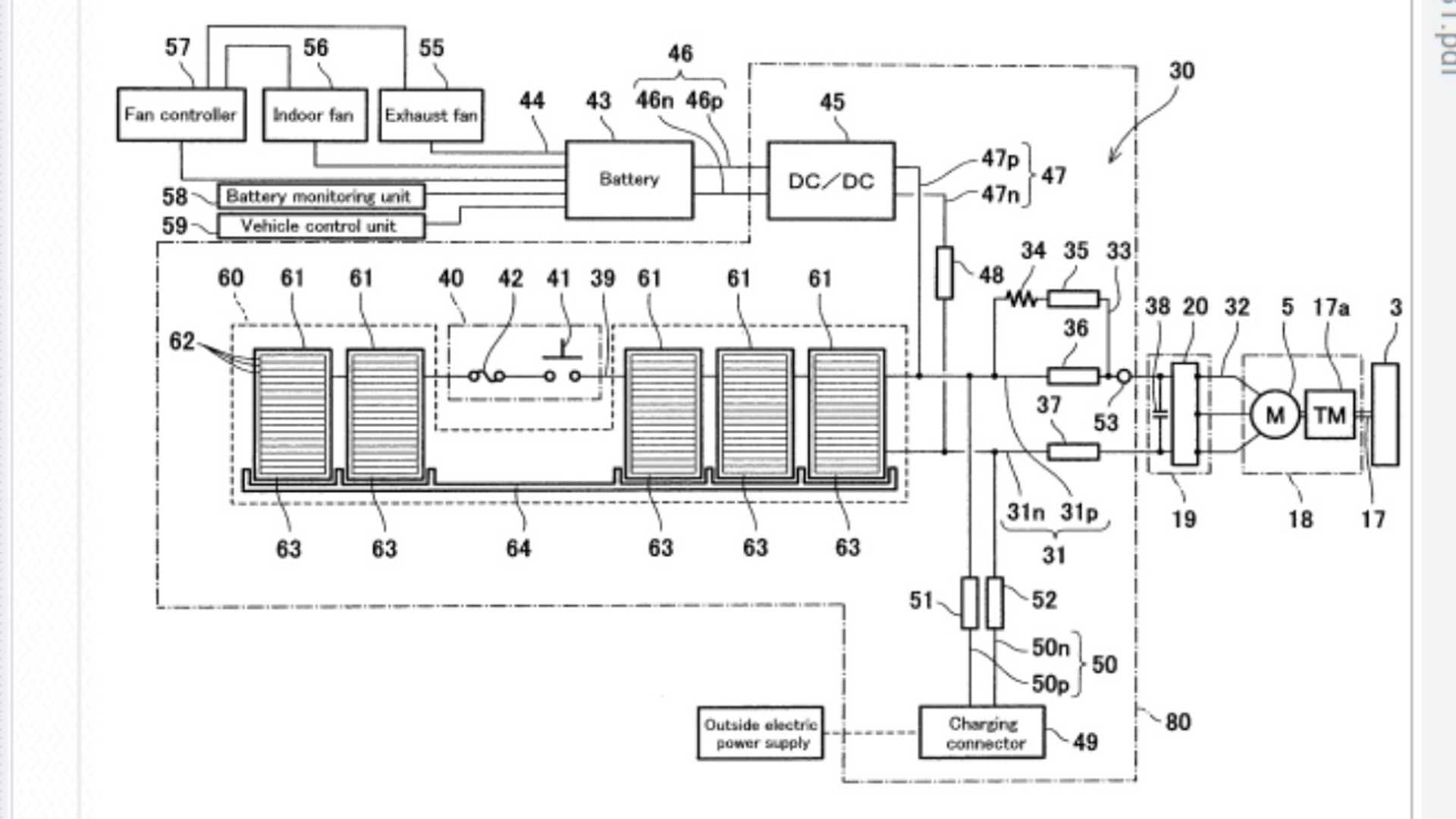
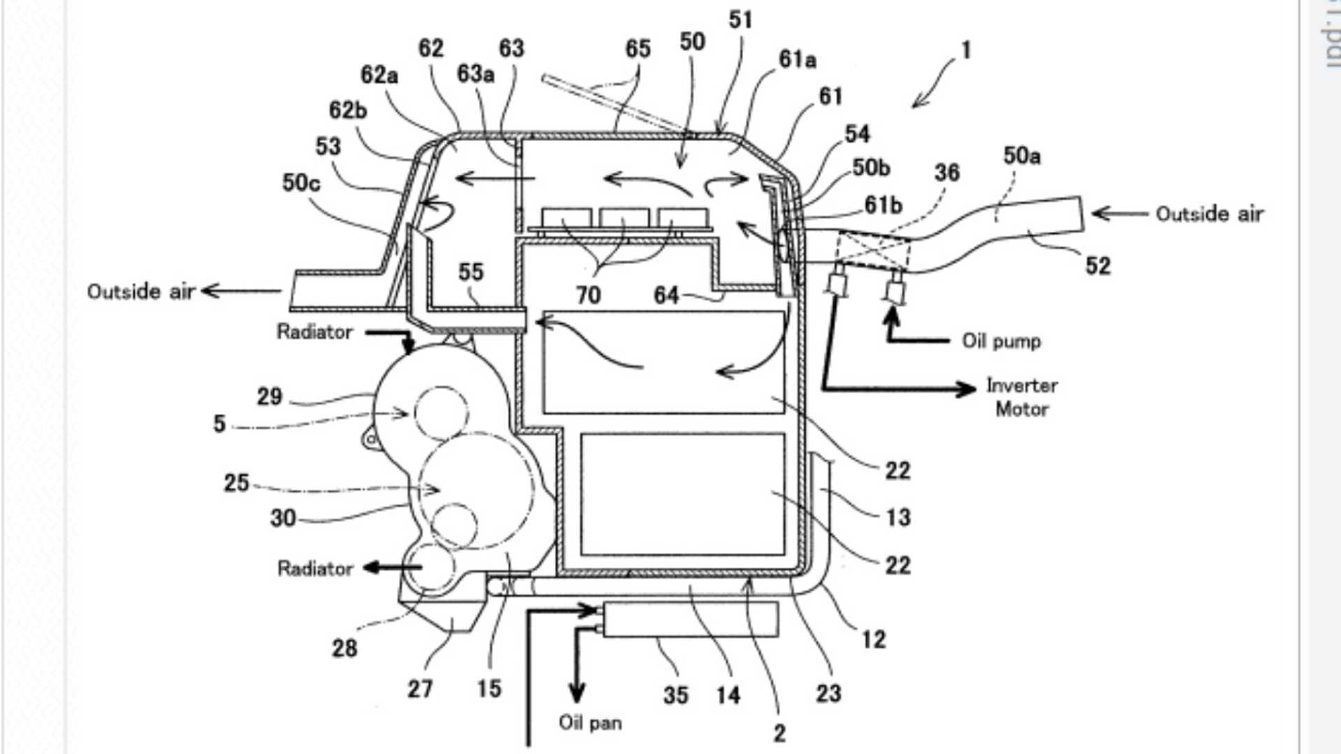
When I say liquid cooling, your mind immediately goes to some kind of water-based coolant, but it looks like Kawasaki could use some kind of oil cooling system to cool down the battery. Which is somewhat surprising, but as RideApart notes, it actually makes a lot of sense. Water and lithium-ion batteries don’t play nice together, so an oil-cooled solution for the battery could be a way to get around that.
Most batteries on motorcycles get sufficient cooling from the air passing around the bike. This special cooling system suggests that Kawasaki anticipates the batteries getting quite hot. It’s unclear how hot they could get or what this means for the bike. My assumption is that it will be a high-powered machine and the cooling would probably be for fast-charging purposes, too.
The patent drawings are actually quite detailed, and there’s probably more here that I’m not seeing. All I know for sure is that Kawasaki has an electric bike in the works, and that gets me pretty excited. I’d love to see the company challenge the other big names in the electric motorcycle world.




No Comment