Motorcycle News

The Latest News About Bikes, Gear, & Industry Events

There are a lot of exciting changes happening in the powersports industry right now. From electric motorcycles to smart helmets, brand announcements to innovative technologies. We love talking about and sharing all things motorcycles. Updated every business day.

Ricky Carmichael, motocross legend, speaking at the 2022 AIMExpo educational platform, DISRUPTIVE THINKING

An Educational Platform Hell-Bent on Revolutionizing the PowerSports Industry Of all of the action to be had at AIMExpo, I was most excited about their DISRUPTIVE THINKING platform. The places that you can go and rekindle your passion for business numbers and company success in the Powersports industry are precious few – but that’s exactly …

Ducati Lenovo Team Jack Miller who has just tested positive for COVID-19

In a recent press release from Ducati Lenovo Team, the group’s talented racer, Jack Miller, will be unable to make it to the 2022 team photoshoot session, due to testing positive for COVI-19.  The young man is asymptomatic, so we’ve nothing to fear on that spectrum – but will be unable to travel until #43 …

A view of a motorcyclist looking into the direction of his route

In a report from AutoFinanceNews, we’re told that some odd 50–70% of powersport purchases were made by newbies to the Powersports Industry. That’s a massive influx of demand, and one that comes with a different set of demographics compared to the traditional buyer pre-COVID.  “Many consumers were looking for other opportunities during the lockdown to …

The twelfth and final stage of the 2022 Dakar Rally Bike category was one of the most exciting parts of the grueling race. The top 3 riders — Honda’s Pablo Quintanilla, KTM’s Toby Price, and Honda’s Nacho Cornejo — were separated by just 29 seconds as they crossed the finish line. However, GASGAS Racing’s Sam …

A view of Gresini's wife, with the Gresini Racing Team

MotoGP’s just had their first team reveal their bikes for 2022 – and it’s none other than Gresini Racing, with a slick set of Ducati GP21 machines to face the likes of Pramac Racing and Valentino Rossi’s VR46 team – and we’re so happy they’ve stayed in the ring.  The report from MotorSport tells us …

A view of an electric motorcycle used to describe the potential state of the electric industry when pertaining to low-voltage chargers

Here at wBW, we cater to all kinds of craft; whether it be the latest lovingly tinkered – and turbo’ed – CBR1000F from your father’s shop, Ducati’s most popular face of 2021, or that new electric machine that is taking forever to debut to the community proper, we don’t discriminate. Life is too short, too …

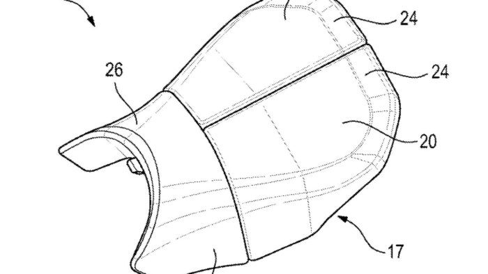
A view of the new motorcycle seat patent that BMW is making, complete with two adjustable components for height and width

One Seat Fits All BMW’s in the process of creating a motorcycle seat that could play a very important role in future ergonomics – and we’re anticipating the thing to arrive by late 2023.  The report from CycleWorld states that the unit is made up of three pieces; the first front section is immoveable, fitting …

A view of the new Harley-Davidson motorcycles that the NOPD Special Operations Division was given with blessing from their Mayor and the city council

The hard-working boys in blue over at the New Orleans Police Department (NOPD) Special Operations Division station have just received a new fleet of Harley-Davidson bikes to ring in the new year – and judging by the looks on their faces, pulling the next  speeding soul over has just become a liesure pursuit…literally. While we may …

A view of a racer courtesy of Harley-Davidson

With 2022 now well underway, racers worldwide are prepping for the track – and Harley-Davidson is no exception.  On top of Vance & Hines offering a contingency program (their largest yet) to select racers under certain conditions for American Flat Track (AFT), MotoAmerica, NHRA Drag Racing, and the Xtreme Drag Racing Association (XDA) Series, the …

A view of a vance & Hines exhaust

Vance & Hines have just revealed the largest contingency program in the history of the brand – and with nearly $200,000 available, this season’s racers will be able to bag a pretty penny for their efforts on the circuit.  In a press release issued on Wednesday of this week, the premium exhaust brand stated that …

akin moto jacket

Subscribe for Your Chance to Win! Our sister site, Return of the Cafe Racers, organized a contest with Aussie moto gear brand Akin Moto. In what may be the easiest contest ever, all you need to do is be a member of our newsletter to be entered. Already a member of our “Behind the Visor” …

Cross section of the B-Sure tech on a tire

We see several new motorcycles and technological advancements at EICMA every year. This year’s lineup included a revolutionary bike from MV Agusta, new accessories from GIVI, and multiple new projects from Brembo. In the midst of all this, a rather exciting piece of tech seems to have flown by under the radar.  An Italian firm …



MENU

Back

Sign Up Today

Get all the best motorcycle news, reviews and deals delivered to your inbox weekly.

Categories & Brands

A to Z

A full list of brands, review categories and motorcycle brands
See Them All
Hands On For Over 20 Years

Product Reviews

Reviewing motorcycle products for over 20 years. Reliable and unbiased advice here.
Check Out Reviews
Make Smart Decisions

Product Buying Guides

In-depth guides to help riders understand what to look for, how to weigh options and make good buying decisions
Learn More
Trending Topics

Helmet Buying Guide

Shopping For A New (Or Your First) Helmet? You’re In The Right Place.
Explore Helmets