Many Assumed This Was Dead
Honda sure is working on a lot of weird motorcycles. Just the other day we shared patent filings for a leaning trike that was powered by the Honda Gold Wing engine, and now it looks like the company has filed patents for a Hydrogen motorcycle. As RideApart points out, this isn’t the first time we’ve seen a design like this.
Honda teamed up with Nissan and Toyota to work on developing hydrogen-powered cars, and one of the results of that teamwork was a motorcycle. Honda filed patents on it back in 2017. From there, the trail went cold. I assumed the thing wasn’t being developed further. It also didn’t make sense to actually produce it because there’s no hydrogen infrastructure outside of California.
Now, it seems Honda has continued rolling with the project. The bike’s development makes more sense. With Honda and Toyota both having hydrogen-powered cars on sales right now, it only makes sense that a motorcycle would follow. Hydrogen fueling stations are becoming more common in California. They could proliferate through the U.S. eventually.
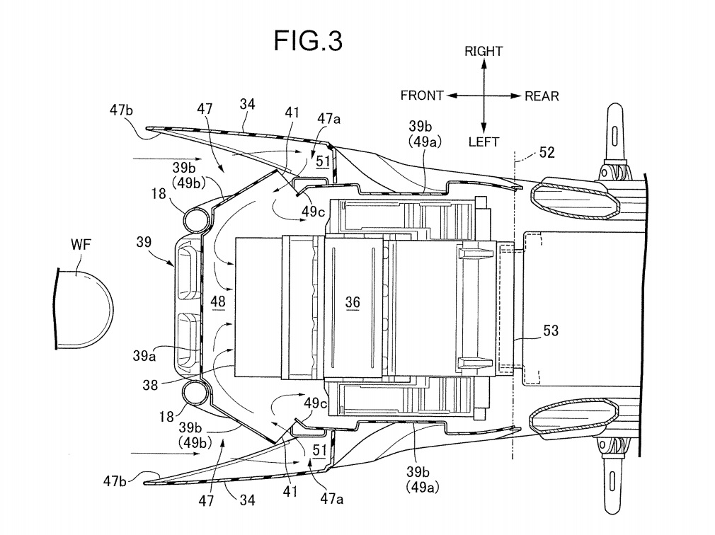
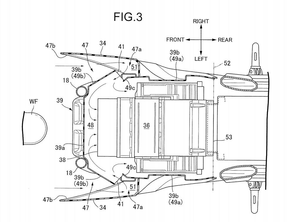
The patent focuses on the air intake for a hydrogen fuel cell motorcycle. The intake moves air over the fuel cell to cool it. There is a small fan designed to expel air out behind the motorcycle, too. Power from the fuel cell, which sits more or less under the seat, will go to the rear wheel through what looks to me like a shaft drive.
The main advantages to hydrogen fuel cell vehicles are that they can be refueled in a couple of minutes like a typical gasoline-powered vehicle and there are no harmful emissions like with gasoline engines. The issue with them is the infrastructure for refueling isn’t there yet. It will be interesting to see if any production bike comes from this project.




That’s not a new patent application. It’s the finally issued (i.e. granted) patent for the same application from 2017 that was the source of RideApart’s previous story.
This isn’t proof that “Honda hasn’t given up on the hydrogen motorcycle”, it’s the same work reaching the next stage in the patent process.