Motorcycle News

The Latest News About Bikes, Gear, & Industry Events

There are a lot of exciting changes happening in the powersports industry right now. From electric motorcycles to smart helmets, brand announcements to innovative technologies. We love talking about and sharing all things motorcycles. Updated every business day.

RideSafe

Reducing Response Time to Motorcycle Accidents We all know motorcycling is a dangerous activity. It’s a necessary evil and one that we can work towards reducing. Technology may be part of the answer, and the new device called RideSafe can help. After a crash occurs it can take some time before anyone alerts the authorities. …

Hi everyone, WebBikeWorld.com has recently partnered with 2Wheel.com. 2Wheel is now one of our affiliate partners, joining Amazon and RevZilla. In the interests of transparency, I’d like to outline our relationship with 2Wheel so that you are aware of the scope of our affiliation with them. First, What is an “Affiliate Relationship”? Simply put, when …

Ilmberger Carbon Suzuki GSX-R1000

Carbon Fiber Galore Carbon fiber is used on a wide variety of motorsports applications to make things lighter weight and improve performance. Ilmberger Carbon has been producing motorcycle carbon fiber parts for decades. The company started in Germany in 1990 by motorcycle racer Julius Ilmberger. It puts out some seriously impressive stuff. One of the …

Royal Enfield Continental GT

Strikes Make It Difficult to Meet Demand Royal Enfield seems to be doing a lot right with the type of motorcycles it builds. However, the company may have some issues internally. According to RideApart, Royal Enfield production workers are on strike, and this is the second time in the last few months this has happened.  …

KLIM Hardanger

A One Piece Designed for Touring and Commuting I’ve actually never owned a one-piece rider suit, but I definitely see the appeal for touring and commuting applications. One-piece suits make a lot of sense for both types of riders, and now KLIM has a suit designed for both. The KLIM Hardanger is the latest offering, …

Jarvish Smart helmet

Let the Smart Helmet Revolution Begin We recently reported on the Australian company Forcite and its smart helmet. Now we get the news that Jarvish has secured more than enough funding for its smart helmet and added a Tron version. The company managed to raise over $420,000 on Kickstarter and managed to raise $440,000 on Indigogo. …

Safer Motorcycling Research Consortium

Six Companies, One Mission According to a new press release, Honda, BMW Motorrad, Harley-Davidson, Indian, Kawasaki, and Yamaha decided to team up to make a safety Justice League of sorts. The companies started the Safer Motorcycling Research Consortium, which was recently officially designated as a non-profit in Washington D.C. The point of the consortium is …

Motorcycle helmet

Does DOT Really Mean Anything? A lot of people know that the Department of Transportation certification for motorcycle helmets isn’t very good. There’s a lot of problems with it, including the fact that testing was based on data from people in automobile accidents, the testing methods are out of date, and that helmet manufacturers get …

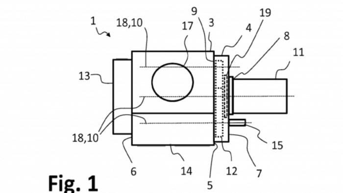
BMW Patent Hybrid

More Hybrid Bikes Are Coming If you thought motorcycles were safe from hybrid technology, you were wrong. A new patent filing by BMW spotted by the two-wheeled sleuths at Motorcycle.com revealed the company might be working on a hybrid boxer engine for a motorcycle. Judging by the patent drawings it’s a bit of a stretch. …

2018 Honda Gold Wing

An Extra Set of Eyes for Safety Cameras and sensors for safety purposes are commonplace on cars these days, and now that technology will begin to become commonplace on motorcycles. MoreBikes noticed some new patents from Honda that put stereoscopic cameras into the fairing of the Gold Wing. What does this mean? Well, those cameras would …

Honda Cafe Racer

Sticking With the Trends We just reported on the fact that Suzuki filed a patent for a cafe racer, and now it seems that Honda could be working on a similar motorcycle. According to the Japanese publication Young Machine, Honda will consider bringing back the GB series of bikes in the form of a modern …

Suzuki Cafe Racer Patent

Patent Suggests Maybe Suzuki recently filed a patent application for a new cafe racer bike that would be a nice addition to its lineup. The bike, if built, would likely fit in with some of the other retro-styled motorcycles, including the VanVan 200 and the TU250X. Although, it appears that this bike would have higher …



MENU

Back

Sign Up Today

Get all the best motorcycle news, reviews and deals delivered to your inbox weekly.

Categories & Brands

A to Z

A full list of brands, review categories and motorcycle brands
See Them All
Hands On For Over 20 Years

Product Reviews

Reviewing motorcycle products for over 20 years. Reliable and unbiased advice here.
Check Out Reviews
Make Smart Decisions

Product Buying Guides

In-depth guides to help riders understand what to look for, how to weigh options and make good buying decisions
Learn More
Trending Topics

Helmet Buying Guide

Shopping For A New (Or Your First) Helmet? You’re In The Right Place.
Explore Helmets