Motorcycle News

The Latest News About Bikes, Gear, & Industry Events

There are a lot of exciting changes happening in the powersports industry right now. From electric motorcycles to smart helmets, brand announcements to innovative technologies. We love talking about and sharing all things motorcycles. Updated every business day.

The Electrified Future Is Coming There was a rumor that Royal Enfield was working on an electric motorcycle. Nothing was ever confirmed but now the company’s CEO Vinod Dasari has said the company will have an electric model at some point in an interview with the Economic Times of India. While he has not given …

Yamaha Tenere 700

It Starts Under $10K The Yamaha Ténéré 700 has been teasing North American buyers now for some time, but pricing for the model is finally up now, and it looks pretty darn good. The model has a starting price of $9,999 before taxes and any relevant fees. The bike has been available in Europe for …

triumph tiger 900

It Looks Fantastic Triumph will reveal a new Tiger 900 in December, which is right around the corner. Before the company does, though, it’s letting a lot of really good images of the bike slip out into the world. The publication MoreBikes published several new images of the bike, many of which appear to be …

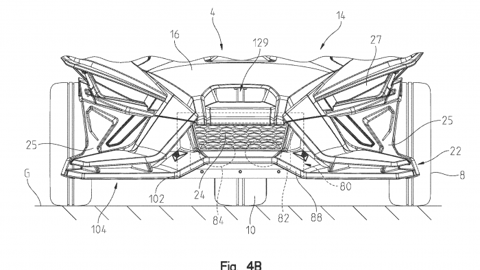
Polaris slingshot patent drawing

The Funky Trike Gets Upgrades I’m not one to really consider the Polaris Slingshot as a motorcycle, but the trike often gets lumped in with its much different two-wheeled counterparts. With that said, though, it is an important and interesting vehicle, and now it seems Polaris is going to update the engine and transmission. Motorcycle.com …

A collection of custom helmets from EICMA 2019 displays.

The dust has settled and the 2019 story of the annual motorcycle extravaganza known as EICMA has arrived. Home Sweet Home I find myself back in snow-covered Alberta, Canada after enduring 12 hours of travel time on the journey home. I’m plopped down in front of my keyboard now, pouring over the vast collection of …

Dakar 2020

There are 12 Stages The Dakar Rally is one of the toughest and most insane races in the whole world. However, lately, the race has had a hard time finding a home. Last year, we reported that the race would go to Saudi Arabia. I had mixed feelings about this choice for several reasons. But …

Norton Superlight SS

Nothing Like a Superfast Norton Fresh off the news that Norton Motorcycles has a new mystery investor, the company has now revealed a new motorcycle. The Superlight SS with a new frame and a more powerful engine. The bike gets a supercharged engine and should be super fast.  Norton’s Superlight SS is a standard Superlight …

HELP WANTED

For wBW, This is the Hardest Time of Year For most wBWers, the snow is flying and the bikes are parked. It’s my annual pavement purgatory, and it will be many months before the warm weather gets me back on two wheels. Boo. I heard this rumor, though, of places where people can ride their bikes …

SEAT e-Scooter

It’s Just a Concept, Though The Spanish automaker SEAT has now created an electric scooter. The bike was unveiled at EICMA, and I just had a chance to really take a look at it. The bike is called the e-Scooter Concept, and it’s one part of the car company’s urban mobility plan.  SEAT has a …

Norton unveils Breitling Commando 961

What Will This Mean for the Company? Norton is a well-known name in the motorcycling world. Recently the company was poised to turn to crowdfunding for investors so that it could expand its operations and do some cool things in the future. The company wanted investors and saw crowdfunding as a way to get them, …

Royal Enfield

The End of an Era? Royal Enfield has been known for its 500cc engines for a while. The new 650 twin that’s in the company’s newest bikes is a departure from the company’s standard. However, it now seems that the company could kill its 500cc engine due to emissions.  According to Live Mint, the company …

Shoei J-Cruise II

An Innovative Open Face Lid March 2020 Update: read Bruce’s in-depth J-Cruise II review. Shoei has a new open face helmet with a flip-up face shield called the J-Cruise II. This design takes what Shoei did with the regular J-Cruise that has been out for years now to a new level. The helmet combines the …



MENU

Back

Sign Up Today

Get all the best motorcycle news, reviews and deals delivered to your inbox weekly.

Categories & Brands

A to Z

A full list of brands, review categories and motorcycle brands
See Them All
Hands On For Over 20 Years

Product Reviews

Reviewing motorcycle products for over 20 years. Reliable and unbiased advice here.
Check Out Reviews
Make Smart Decisions

Product Buying Guides

In-depth guides to help riders understand what to look for, how to weigh options and make good buying decisions
Learn More
Trending Topics

Helmet Buying Guide

Shopping For A New (Or Your First) Helmet? You’re In The Right Place.
Explore Helmets